YN-ZD系列不銹鋼電熱蒸餾水器說明書
![]() |
YN-ZD系列不銹鋼電熱蒸餾水器說明書 |
本產品使用自來水,以電加熱方式產生蒸汽冷凝制取蒸餾水,供醫療衛生單位、實驗室使用。
二、主要參數
| 規格 | 蒸餾水產量(L/h) | 功率(KW) | 電源電壓(V) | 蒸餾水:冷卻水 | 配置電熱管(KW) |
| 5L/h | 5 | 4.5 | 交流220 | 1:8.5 | 4.5一支 |
| 10L/h | 10 | 7.5 | 交流380 | 1:8.5 | 2.5三支 |
| 20L/h | 10 | 13.5 | 交流380 | 1:8.5 | 4.5三支 |
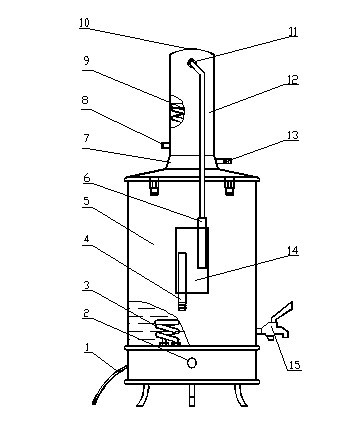
本儀器主要由冷凝器、蒸發鍋、電熱管三部分組成。主體材料均采用不銹鋼薄板與不銹鋼無縫管制成,外形美觀。電加熱管采用浸入式電熱管熱效率高。主要結構如下圖:



四、安裝要求
用戶開箱后,先應閱讀使用說明,并按圖1;圖2所示安裝,本產品需固定安裝使用,同時注意以下要求:
1.產品安全分類:I類,連續運行的普通型設備,使用時應保證保護接地良好。
2.電源:用戶根據產品銘牌所示參數,按接線圖接線,電源插座應有可靠接地,并應配有熔斷器(用戶電路中必須安裝),保證使用安全,(5升、20升:2**;10升:1**)見(圖2)。
3.水源:本產品進水用Φ10軟管與蒸餾水器進水快卸接頭連接。如用戶供水管為1/2龍頭時,可在進水軟管另一端用生料帶纏繞幾圈插入1/2龍頭內孔即可。蒸餾水出口請用白色膠管連接,將所產蒸餾水引入容器內(詳見結構示意圖)。
五、使用事項
1.
為查閱隨機文件標記。2.在電源與水源均已安裝就序后即可進行下面操作。
3.先將放水閥關閉,開啟水源閥,使自來水從進水接頭經冷凝器,再從回水管注入蒸發鍋內,直**水位上升到溢水器高低水位指示中間處,即關閉水源。
4.接通電源加熱,當蒸發鍋內水沸騰產生蒸汽,同時冷凝器上部出氣小孔有少量蒸汽噴出時,重新打開進水閥,配合觀察溢水器水位,調節水源開關流量**高低水位指示中間位置為止。此時有冷卻水從溢水器排出,當蒸發鍋內開始沸騰后,為了保證生產蒸餾水量,必須保證有冷卻水的供應(冷卻水是蒸餾水產量的8倍左右,只有一部分從溢水器補充到蒸發鍋內,大部分從溢水器的出水口排除)。
5.蒸餾水出口用白膠管導入容器收集即可。
六、注意事項
1. 制備蒸餾水所用的自來水應符合《生活飲用水衛生標準》要求。
2. 在蒸發鍋未注水或溢水器未排出溢水時,切勿將工作電源開關閉合。
3. 蒸餾水器工作時,由于水源壓力不穩定,會使蒸餾水出水量及冷卻水流量可能發生較大變化,用戶應經常觀察并及時調節水量大小**溢水器規定水位。
4. 當溢水橡膠出水管與溢水器接口相接后,橡膠管的另一頭出水口在使用中溢水須直排,必須保證橡膠管排水暢通向下,其彎角須大于90°,否則溢水器將產生水位不穩。
5. 每天使用前應洗刷蒸發鍋,并將存水排凈,更換新鮮水,以保證水質。
6. 蒸餾水器內水垢,可用弱酸或弱堿溶液洗刷。
7. 新購進蒸餾水器,應先清洗,并通過2小時以上注水通電蒸發,直**取得蒸餾水符合要求,使用中切勿斷水。
8. 蒸餾水器在工作時,外表溫度較高,切勿接觸,防止燙傷。
9. 橡膠密封使用日久后會老化,用戶應及時更換。
用戶需購備件及其它事宜,請與我公司聯系。
- 上一篇:上海博迅生物安全柜說明書
- 下一篇:柳江縣里高鎮衛生院采購立式壓力蒸汽滅菌器招標公告







