上海博迅YXQ-SG46-280S手提式壓力蒸汽滅菌器使用說明書
一、用 途
本產品是利用加壓的飽和蒸汽對器械、器皿、敷料等物品進行迅速有效的滅菌設備,適用于醫療衛生單位使用。


二、結構特點
1、本產品采用浸入式電熱管加熱,升溫快,耗能少,具有良好節能效果。
2、容器采用不銹鋼薄板經沖壓焊接而成,不僅耐酸耐堿,還具有良好的抗拉,抗壓性,確保了安全性和使用壽命。
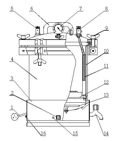
3、容器蓋上安裝有安全閥和放氣閥,當蒸汽壓力超過0.165Mpa時,安全閥能啟動釋放過高壓力,使之達到了使用上的安全,可靠,壓力表能顯示工作壓力和相對溫度,便于參照掌握滅菌時間。
4、具有防干燒功能,當水位低于電熱管時,能自動切斷工作電源。
三、技術參數
1、滅菌桶積:0.016M3
2、額定工作壓力:0.142Mpa
3、額定工作溫度:126℃
4、電源電壓:交流220V50Hz
5、電熱管功率:2000VA
四、使用方法
1、加水:在容器內加水3.5L左右即可使用,連續使用必須補充**上述水量。
2、堆放:將滅菌物品包扎好,放入滅菌桶內篩板上,堆放物品應均勻 ,錯落有序,這樣有利于滅菌。
3、密封:將滅菌桶放入容器內。然后將放氣軟管插入滅菌桶半圓槽內,蓋上容器蓋,對準上下螺栓槽后,對稱將蝶形螺母旋緊達到密封要求。(使用中如有漏氣情況時,繼續旋緊螺母即可消除)。
4、加熱:接通電源,打開電源開關加熱即開始,先將放氣閥小扳手放于垂直位置,讓容器內冷空氣逸出,當有蒸汽噴出時再將放氣閥小扳手復位,當滅菌器內壓力達到所需壓力時,開始按不同物品計算滅菌時間。
5、冷卻:當滅菌結束后,先關閉電源。當壓力恢復到0位后1-2分鐘,再打開放氣閥,待余氣放盡后,可打開上蓋。
五、注意事項
1、使用電源應妥善接地。
2、本滅菌器是壓力蒸汽容器,使用中切勿撞擊。當壓力表指示大于0.165Mpa時安全閥還未排氣,應立即停止使用,檢查安全閥。
3、壓力表在未工作時,應指向0位,否則壓力表已失靈,應及時修理或更換壓力表后使用,每年應對壓力表按規定進行校驗,確保正常使用。
4、每次使用后應將容器內和滅菌桶篩板下冷凝水倒盡,并經常清洗容器內水垢。
5、當密封圈使用日久后會老化,因此在加熱過程中可能有少量蒸汽在密封圈處逸出,但當壓力升**0.05Mpa時,即會停止外逸此情況不為故障。
6、密封圈為易損件,當使用日久后達不到密封性能時,應及時更換。
7、當滅菌器在工作時,工作人員切勿離開現場。
8、滅菌器為滅菌專用設備,不得挪作其他用途。
注:如有維修,購買零配件請與我公司聯系。
本產品是利用加壓的飽和蒸汽對器械、器皿、敷料等物品進行迅速有效的滅菌設備,適用于醫療衛生單位使用。


二、結構特點
1、本產品采用浸入式電熱管加熱,升溫快,耗能少,具有良好節能效果。
2、容器采用不銹鋼薄板經沖壓焊接而成,不僅耐酸耐堿,還具有良好的抗拉,抗壓性,確保了安全性和使用壽命。
3、容器蓋上安裝有安全閥和放氣閥,當蒸汽壓力超過0.165Mpa時,安全閥能啟動釋放過高壓力,使之達到了使用上的安全,可靠,壓力表能顯示工作壓力和相對溫度,便于參照掌握滅菌時間。
4、具有防干燒功能,當水位低于電熱管時,能自動切斷工作電源。
三、技術參數
1、滅菌桶積:0.016M3
2、額定工作壓力:0.142Mpa
3、額定工作溫度:126℃
4、電源電壓:交流220V50Hz
5、電熱管功率:2000VA
四、使用方法
1、加水:在容器內加水3.5L左右即可使用,連續使用必須補充**上述水量。
2、堆放:將滅菌物品包扎好,放入滅菌桶內篩板上,堆放物品應均勻 ,錯落有序,這樣有利于滅菌。
3、密封:將滅菌桶放入容器內。然后將放氣軟管插入滅菌桶半圓槽內,蓋上容器蓋,對準上下螺栓槽后,對稱將蝶形螺母旋緊達到密封要求。(使用中如有漏氣情況時,繼續旋緊螺母即可消除)。
4、加熱:接通電源,打開電源開關加熱即開始,先將放氣閥小扳手放于垂直位置,讓容器內冷空氣逸出,當有蒸汽噴出時再將放氣閥小扳手復位,當滅菌器內壓力達到所需壓力時,開始按不同物品計算滅菌時間。
5、冷卻:當滅菌結束后,先關閉電源。當壓力恢復到0位后1-2分鐘,再打開放氣閥,待余氣放盡后,可打開上蓋。
五、注意事項
1、使用電源應妥善接地。
2、本滅菌器是壓力蒸汽容器,使用中切勿撞擊。當壓力表指示大于0.165Mpa時安全閥還未排氣,應立即停止使用,檢查安全閥。
3、壓力表在未工作時,應指向0位,否則壓力表已失靈,應及時修理或更換壓力表后使用,每年應對壓力表按規定進行校驗,確保正常使用。
4、每次使用后應將容器內和滅菌桶篩板下冷凝水倒盡,并經常清洗容器內水垢。
5、當密封圈使用日久后會老化,因此在加熱過程中可能有少量蒸汽在密封圈處逸出,但當壓力升**0.05Mpa時,即會停止外逸此情況不為故障。
6、密封圈為易損件,當使用日久后達不到密封性能時,應及時更換。
7、當滅菌器在工作時,工作人員切勿離開現場。
8、滅菌器為滅菌專用設備,不得挪作其他用途。
注:如有維修,購買零配件請與我公司聯系。






